瓶装燃气经营许可证核发办事指南 
    
    
    
一、申请条件: 
   
《城镇燃气管理条例》第十五条国家对燃气经营实行许可证制度。从事燃气经营活动的企业,应当具备下列条件:
(一)符合燃气发展规划要求;
(二)有符合国家标准的燃气气源和燃气设施;
(三)企业的主要负责人、安全生产管理人员以及运行、维护和抢修人员经专业培训并考核合格;
(四)企业的主要负责人、安全生产管理人员以及运行、维护和抢修人员经专业培训并考核合格;
(五)法律、法规规定的其他条件。
符合前款规定条件的,由县级以上地方人民政府燃气管理部门核发燃气经营许可证。
燃气经营许可管理办法》
第五条 申请燃气经营许可的,应当具备下列条件:
(一)符合燃气发展规划要求。
燃气经营区域、燃气种类、供应方式和规模、燃气设施布局和建设时序等符合依法批准的燃气发展规划。
(二)有符合国家标准的燃气气源。
1.应与气源生产供应企业签订供用气合同。
2.燃气气源应符合国家城镇燃气气质有关标准。
(三)有符合国家标准的燃气设施。
1.有符合国家标准的燃气生产、储气、输配、供应、计量、安全等设施设备。
2.燃气设施工程建设符合法定程序,竣工验收合格并依法备案。
(四)有固定的经营场所。
有固定办公场所、经营和服务站点等。
(五)有完善的安全管理制度和健全的经营方案。
安全管理制度主要包括:安全生产责任制度,设施设备(含用户设施)安全巡检、检测制度,燃气质量检测制度,岗位操作规程,燃气突发事件应急预案,燃气安全宣传制度等。
经营方案主要包括:企业章程、发展规划、工程建设计划,用户发展业务流程、故障报修、投诉处置、质量保障和安全用气服务制度等。
(六)企业的主要负责人、安全生产管理人员以及运行、维护和抢修人员经专业培训并经燃气管理部门考核合格。专业培训考核具体办法另行制定。
经专业培训并考核合格的人员及数量,应与企业经营规模相适应,最低人数应符合以下要求:
1.主要负责人。是指企业法定代表人和未担任法定代表人的董事长(执行董事)、经理。以上人员均应经专业培训并考核合格。
2.安全生产管理人员。是指企业分管安全生产的负责人,企业生产、安全管理部门负责人,企业生产和销售分支机构的负责人以及企业专职安全员等相关管理人员。以上人员均应经专业培训并考核合格。
3.运行、维护和抢修人员。是指负责燃气设施设备运行、维护和事故抢险抢修的操作人员,包括但不仅限于燃气输配场站工、液化石油气库站工、压缩天然气场站工、液化天然气储运工、汽车加气站操作工、燃气管网工、燃气用户检修工、瓶装燃气送气工。最低人数应满足:
管道燃气经营企业,燃气用户10万户以下的,每2500户不少于1人;10万户以上的,每增加2500户增加1人。
瓶装燃气经营企业,燃气用户1000户及以下的不少于3人;1000户以上不到1万户的,每800户1人;1-5万户,每增加1万户增加10人;5-10万户,每增加1万户增加8人;10万户以上每增加1万户增加5人。
燃气汽车加气站等其他类型燃气经营企业人员及数量配备以及其他运行、维护和抢修类人员,由省级人民政府燃气管理部门根据具体情况确定。第六条 申请燃气经营许可的,应当向发证部门提交下列申请材料,并对其真实性、合法性、有效性负责:
(一)燃气经营许可申请书。
(二)燃气气质检测报告;与气源供应企业签订的供用气合同书。
(三)申请人对燃气设施建设工程竣工验收合格情况,主要负责人、安全生产管理人员以及运行、维护和抢修等人员的专业培训考核合格情况,固定的经营场所(包括办公场所、经营和服务站点等)的产权或租赁情况,企业工商登记和资本结构情况的说明。
(四)本办法第五条第(五)项要求的完善的安全管理制度和健全的经营方案材料。
(五)法律、法规规定的其他材料。
《云南省人民政府关于简政放权取消和调整部分省级行政审批项目的决定》(云政发〔2013〕44号)中与云南省住房和城乡建设厅相关的职权下发规定。 
   
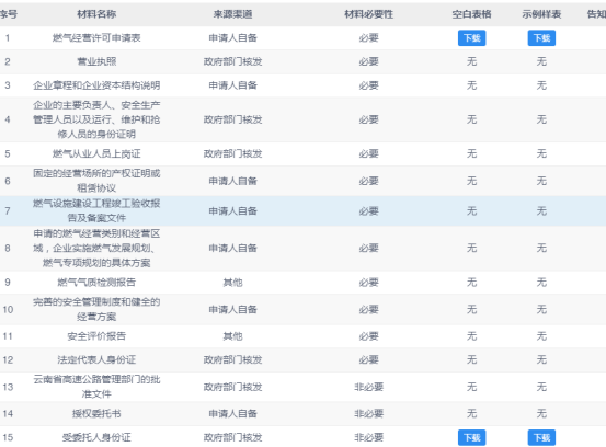
二、申请材料: 
    
 
 
    
三、申请流程:申请→受理→审查→决定→送达 
   
四、法定依据: 
   
《城镇燃气管理条例》第十五条  国家对燃气经营实行许可证制度。从事燃气经营活动的企业,应当具备下列条件:(五)法律、法规规定的其他条件。 符合前款规定条件的,由县级以上地方人民政府燃气管理部门核发燃气经营许可证。
  《燃气经营许可管理办法》第五条 申请燃气经营许可的,应当具备下列条件:
(一)符合燃气发展规划要求。
燃气经营区域、燃气种类、供应方式和规模、燃气设施布局和建设时序等符合依法批准的燃气发展规划。
(二)有符合国家标准的燃气气源。
1.应与气源生产供应企业签订供用气合同。
2.燃气气源应符合国家城镇燃气气质有关标准。
(三)有符合国家标准的燃气设施。
1.有符合国家标准的燃气生产、储气、输配、供应、计量、安全等设施设备。
2.燃气设施工程建设符合法定程序,竣工验收合格并依法备案。
(四)有固定的经营场所。
有固定办公场所、经营和服务站点等。
(五)有完善的安全管理制度和健全的经营方案。
安全管理制度主要包括:安全生产责任制度,设施设备(含用户设施)安全巡检、检测制度,燃气质量检测制度,岗位操作规程,燃气突发事件应急预案,燃气安全宣传制度等。
经营方案主要包括:企业章程、发展规划、工程建设计划,用户发展业务流程、故障报修、投诉处置、质量保障和安全用气服务制度等。
(六)企业的主要负责人、安全生产管理人员以及运行、维护和抢修人员经专业培训并经燃气管理部门考核合格。专业培训考核具体办法另行制定。
经专业培训并考核合格的人员及数量,应与企业经营规模相适应,最低人数应符合以下要求:
1.主要负责人。是指企业法定代表人和未担任法定代表人的董事长(执行董事)、经理。以上人员均应经专业培训并考核合格。
2.安全生产管理人员。是指企业分管安全生产的负责人,企业生产、安全管理部门负责人,企业生产和销售分支机构的负责人以及企业专职安全员等相关管理人员。以上人员均应经专业培训并考核合格。
3.运行、维护和抢修人员。是指负责燃气设施设备运行、维护和事故抢险抢修的操作人员,包括但不仅限于燃气输配场站工、液化石油气库站工、压缩天然气场站工、液化天然气储运工、汽车加气站操作工、燃气管网工、燃气用户检修工、瓶装燃气送气工。最低人数应满足:
管道燃气经营企业,燃气用户10万户以下的,每2500户不少于1人;10万户以上的,每增加2500户增加1人。
瓶装燃气经营企业,燃气用户1000户及以下的不少于3人;1000户以上不到1万户的,每800户1人;1-5万户,每增加1万户增加10人;5-10万户,每增加1万户增加8人;10万户以上每增加1万户增加5人。
燃气汽车加气站等其他类型燃气经营企业人员及数量配备以及其他运行、维护和抢修类人员,由省级人民政府燃气管理部门根据具体情况确定。
第六条 申请燃气经营许可的,应当向发证部门提交下列申请材料,并对其真实性、合法性、有效性负责:
(一)燃气经营许可申请书。
(二)燃气气质检测报告;与气源供应企业签订的供用气合同书。
(三)申请人对燃气设施建设工程竣工验收合格情况,主要负责人、安全生产管理人员以及运行、维护和抢修等人员的专业培训考核合格情况,固定的经营场所(包括办公场所、经营和服务站点等)的产权或租赁情况,企业工商登记和资本结构情况的说明。
(四)本办法第五条第(五)项要求的完善的安全管理制度和健全的经营方案材料。
(五)法律、法规规定的其他材料。
《云南省人民政府关于调整482项涉及省级行政权力事项的决定》(云政发〔2020〕16号)附件3第25项  燃气经营许可证核发,省住房城乡建设部门不再实施,保留州、县级住房城乡建设部门审批权限。 
   
| 上一条:占用、挖掘公路、公路用地或者使公路改线审批申请条件、申请材料、申请流程、法定依据 | 
| 下一条:大姚县行政审批局关于大姚恒瑞房地产开发有限公司自建设专用道路、管线与市政公用设施连接审批的行政许可决定 | 
主办单位:大姚县人民政府 承办单位:大姚县人民政府办公室 网站地图
        地址:大姚县金碧镇金平路政务中心    联系电话:0878-6222279
    
        滇ICP备05001067号  网站标识码:5323260002    滇公网安备 53232602000001号
滇公网安备 53232602000001号
    
 
