城镇污水排入排水管网许可办事指南 
    
    
    
一、申请条件: 
   
1.污水排放口的设置符合城镇排水与污水处理规划的要求;2.排放污水的水质符合国家或者地方的污水排入城镇下水道水质标准等有关标准;3.按照国家有关规定建设相应的预处理设施;4.按照国家有关规定在排放口设置便于采样和水量计量的专用检测井和计量设备;列入重点排污单位名录的排水户已安装主要水污染物排放自动监测设备。 
   
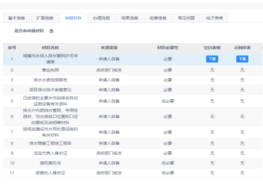
二、申请材料: 
    
 
 
    
三、申请流程:申请→受理→审查→决定→送达 
   
四、法定依据: 
   
《城镇排水与污水处理条例》第二十一条  从事工业、建筑、餐饮、医疗等活动的企业事业单位、个体工商户(以下称排水户)向城镇排水设施排放污水的,应当向城镇排水主管部门申请领取污水排入排水管网许可证。城镇排水主管部门应当按照国家有关标准,重点对影响城镇排水与污水处理设施安全运行的事项进行审查。排水户应当按照污水排入排水管网许可证的要求排放污水。
   《城镇污水排入排水管网许可管理办法》(住房和城乡建设部令第21号)第三条  直辖市、市、县人民政府城镇排水与污水处理主管部门(以下简称城镇排水主管部门)负责本行政区域内排水许可证书的颁发和监督管理。
    《云南省人民政府关于调整112项涉及州级及以下行政权力事项的决定》(云政发〔2020〕21号)附件3第4项  城镇污水排入排水管网许可,州级住房城乡建设部门不再实施,保留县级住房城乡建设部门审批权限。 
   
| 上一条:大姚县行政审批局关于大姚县龙街镇人民政府龙街镇集镇商业综合体建设项目建筑工程施工许可证核发的行政许可决定 | 
| 下一条:因工程建设需要拆除、改动、迁移排水与污水处理设施审核申请条件、申请材料、申请流程、法定依据 | 
主办单位:大姚县人民政府 承办单位:大姚县人民政府办公室 网站地图
        地址:大姚县金碧镇金平路政务中心    联系电话:0878-6222279
    
        滇ICP备05001067号  网站标识码:5323260002    滇公网安备 53232602000001号
滇公网安备 53232602000001号
    
 
